かつて年1,000時間とされた診断士合格もすっかり時短が進み、今や「1次」200~400時間でも長い方。その時短のコツが、「ヘタクソ解説の市販過去問集を使わなくなったため」と指摘すれば、課金上手の受験産業が涙を流して嫌がります。

市販の過去問集に取り組む際、解説文が長すぎて解答の要点が掴めず、学習の進捗が滞ることに悩む受験者は多く見られます。
今の自分の知識レベルで読むべき箇所と読み飛ばしてよい箇所の区別がつかず、不満や違和感を覚えるのはよくある現象です。
市販本は初学者から学習経験者まで幅広い読者を想定しているため、あらゆる前提知識を補う網羅的な説明が求められます。
結果として自分には既知の基礎的な内容まで含まれてしまい、それが解説を冗長で分かりにくいものにしている主な原因です。
生成AIに現在の理解度や疑問点を具体的に提示して、自分に不足している知識だけを補うピンポイントの解説を作成させます。
初めは具体的な指示を出す手間がかかりますが、慣れれば学習の無駄を省き、本試験に向けた知識の定着を早く進められます。
【R7運営】スクール解説を避けて合格時短~計算正答率AB8+CD6マーク
受験産業を好んで末路に追い込む試験委員の出題姿勢を知ると、「受験産業が嫌がる痛い所を突く」ほど短時間でスコアが上がる。試しにR7「運営」計算問題14マークをAIに解説させ、その時短効果を確かめます。
狙って当てたい計算正答率AB8マーク
単位で悩む方は「全て秒に揃える」。全て掛けてから約分すると7×6×6=252秒がタクトタイムです。
| ある工場では、1 種類の製品をライン生産方式で生産することを計画している。1 カ月の製品の必要生産数は2,000個、稼働日は20日である。1 日の実稼働時間は7 時間である。 この生産ラインのタクトタイムが含まれる範囲として、最も適切なものはどれか。 |
| ×ア 100秒未満 ×イ 100秒以上、200秒未満 ○ウ 200秒以上、300秒未満 ×エ 300秒以上、400秒未満 ×オ 400秒以上 |
図解が評判のAI、Claudeに解説を頼むと以下。もちろんパターン暗記など不要で、「秒に揃える」原則一つでOKです。


まず最長経路(クリティカルパス)を特定し、その経路上にある作業の中でコストが最も低いものを選んで削減する。これを2日分繰り返す。
| プロジェクトマネジメントを行うために、以下のPERT図を作成した。さらに、プロジェクトを構成する各作業の作業時間を、1日削減するために必要なコストを下表に示した。プロジェクトのクリティカルパスを2日短くするために必要となるコストとして、最も少ないものを下記の解答群から選べ(単位:万円)。なお、各作業の作業時間は、最大で2日削減できる。 |
![]() |
| ×ア 10 ×イ 11 ○ウ 12 ×エ 13 ×オ 14 |
当問はPERTの問題としては複雑で、改善費用の表も読み取りづらい。最初は悩んで間違えて、AI解説で時短することが有効です。


流動線図の2本の累積線で「縦の間隔=その時点の仕掛在庫量」「横の間隔=リードタイム」という対応を1つ覚えれば、4択すべて即決できます。
| ある単一の製品を生産しているラインにおいて、投入量と産出量に基づいた流動数分析の結果を下図に示す。投入量や産出量の累積線の傾きはそれぞれ、投入や産出のペースに応じて変化している。この生産ラインは先入先出で、投入から産出までの期間は一定である。 この図から読み取ることのできる記述の組み合わせとして、最も適切なものを下記の解答群から選べ。 |
![]() |
| ○a Aが示す縦軸方向の間隔は、時点αにおける生産ライン内のものの量を示している。 ○b Bが示す横軸方向の間隔は、生産ラインへの投入から産出までの期間を示している。 ×c 時点βにおいて投入のペースが変化した後、生産ライン内のものの量が増加(→○減少)している。 ○d 投入から産出までの期間を短縮できれば、投入量の累積線と産出量の累積線の縦軸方向の間隔を短くできる。 |
| a | b | c | d | |
|---|---|---|---|---|
| ×ア | ○ | ○ | × | × |
| ×イ | ○ | ○ | ○ | × |
| ○ウ | ○ | ○ | × | ○ |
| ×エ | × | ○ | ○ | × |
| ×オ | × | × | ○ | ○ |
流動線図は頻出で、「在庫を持つ全ての業種において」その仕入→在庫→販売状況を一目で可視化する、超お役立ちツールです。
POSデータ6,000枚を基に、「A購入者がBも買う確率」を信頼度、「AとBの共起がランダムな場合を1とした相対的な強さ」をリフト値として計算し、クロスセル対象商品の組み合わせを評価します。
| あるスーパーマーケットで、POSデータからクロスセルの対象商品を見つける目的でアソシエーション分析を行う。対象とした3 つの商品A、B、Cについて、対象期間の発行レシート枚数を整理したところ、次の表のような結果となった。この結果を用いて、下記の設問に答えよ。 |
![]() |
| (設問1 ) 商品Aからみた商品Bの信頼度(コンフィデンス)として、最も適切なものはどれか。 |
| ×ア 1/9 ×イ 1/6 ×ウ 7/15 ×エ 8/15 ○オ 3/5 |
| (設問2 ) 商品Aと商品Bを併買した購買パターンのリフト値として、最も適切なものはどれか。 |
| ×ア 3/5 ×イ 5/6 ×ウ 1 ×エ 16/15 ○オ 6/5 |
コンフィデンス(Aを買って→Bも買う)⇔リフト値(Aを買うとBを買う確率が何倍)の関係が一目でわかる良問。問に無関係なCを外し、下のベン図を書いて思考スタートです。

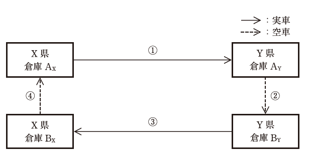
「帰り荷の確保」=空車走行を実車走行に置き換える取組。トラック台数が2台→1台に減るため、実車率は上がり積載率は変わらない、と読み解けば正解に。
| 荷主であるA社とB社は、X県とY県の間でトラックによる社内輸送をそれぞれ行っており、このたび協力して帰り荷の確保という取組を行った。この取組前を基準とした取組後の変化に関する記述として、最も適切なものを次ページの解答群から選べ。 なお、次ページの条件のみを踏まえて解答すること。 |
| 【取組前】 A社とB社の輸送では、トラックがそれぞれ1 台ずつ運行していた。 A社の貨物を積載したトラックは、X県の倉庫AXからY県の倉庫AYへ貨物を積載して走行(実車走行)した後に、倉庫AYから倉庫AXへ貨物を積載せずに走行(空車走行)していた。 B社の貨物を積載したトラックは、Y県の倉庫BYからX県の倉庫BXへ実車走行した後に、倉庫BXから倉庫BYへ空車走行していた。 |
![]() |
| 【取組後】 トラック1 台で、A社の実車走行後にB社の貨物を積載して輸送する帰り荷の確保という取組を行った。 トラックは、①倉庫AXでA社の貨物を積載してから倉庫AYへ実車走行した後に、②倉庫BYへ空車走行して、③倉庫BYでB社の貨物を積載してから倉庫BXへ実車走行し、④倉庫AXへ空車走行した。 |
![]() |
| 次ページ【解答に当たっての条件】 ・トラックの最大積載量は、【取組前】と【取組後】におけるすべての輸送において同じである。また、輸送貨物量は、A社の倉庫AXから倉庫AYへの輸送と、B社の倉庫BYから倉庫BXへの輸送においてすべて同じである。 ・トラックの実車率はトラックの走行距離に占める実際に貨物を積載して走行した距離の割合であり、積載率は貨物を積載して走行するトラックの最大積載量に占める実際に積載した貨物の量の割合である。 ・【取組後】の空車走行の距離(②倉庫AYと倉庫BYの間の距離と④倉庫AXと倉庫BXの間の距離の合計)は、【取組前】のA社の空車走行の距離(倉庫AXと倉庫AYの間の距離)とB社の空車走行の距離(倉庫BXと倉庫BYの間の距離)の合計よりも短いとする。 |
| ×ア トラックの実車率と積載率はともに変わらなかった。 ×イ トラックの実車率と積載率はともに上昇した。 ×ウ トラックの実車率と積載率はともに低下した。 ×エ トラックの実車率は変わらなかったが、積載率は上昇した。 ○オ トラックの実車率は上昇したが、積載率は変わらなかった。 |
長文であるが、冒頭指示の「次ページの解答条件のみ(赤字部分)」さえ読めばある程度○オを選べる。年々長文化する「2次」対策には欠かせない読解テクニックです。

(設問1)は長文を読み込まず、表の値を使って素早く計算する。「売上原価150÷売上200=変動費率75%→限界利益率25%」と「人件費20万×1.1+その他25万=固定費47万」の2つを計算すると。47÷0.25=188万円→○ウ。
| 以下は、雑貨を販売するA店を経営するX氏と中小企業診断士(以下、「診断士」という。)との間で行われた会話である。この会話と下表に基づき、下記の設問に答えよ。 |
![]() |
| X 氏:「最近の物価高を反映して、アルバイト従業員の賃金を上げようと考えています。うちの店の従業員はすべてアルバイトなので、時給を上げた分、そのまま人件費の増加になります。健全な経営をするために、どのようなことを考えることが必要でしょうか。」 診断士:「営業利益が出せるように計画を立てることを考えましょう。人件費が増加するということは、損益分岐点売上高が上がることになります。時給はどのくらい上げる予定ですか。」 X 氏:「時給は10%上げようと考えています。店を運営する作業は変わらないのでシフトは変えないため、総労働時間数は変わらない予定です。営業赤字にならないように、①損益分岐点売上高を下回らない売上高を確保することが必要なのですね。」 診断士:「はい、ただし、店舗の②人時生産性を高めて損益分岐点売上高を下げることも検討してください。」 |
| (設問1 ) 会話の中の下線部①の損益分岐点売上高について、人件費を10%上げた際のA店の損益分岐点売上高として最も適切なものはどれか。ただし、ここでは売上原価率、固定費のその他の経費は一定で変化しないものとする。 |
| ×ア 8 万円 ×イ 180万円 ○ウ 188万円 ×エ 208万円 ×オ 220万円 |

(設問2)は「人時生産性=売上÷総労働時間」と定義を確認するだけ。選択肢は「総従業員数を変えず・作業時間を短縮」かどうかを機械的に確認。a・bは合致、cはSKU管理の話で人時と無関係、dは従業員増で総労働時間が増え逆効果です。
| (設問2 ) 会話の中の下線部②の人時生産性を高める取り組みに関する記述の組み合わせとして、最も適切なものを下記の解答群から選べ。 |
| ○a 従業員を教育してスキルアップを図り、総従業員数は変えずに、同じ仕事量をするのにかかる作業時間を短くする。 ○b IT機器を導入して作業の自動化を図り、総従業員数は変えずに、1 人当たりの作業時間を短くする。 ×c 品揃えSKU数を増やして(→○変えずに) 、総作業時間を変えずに(→○減らして) 、1 SKU当たりの管理作業時間を減らす。 ×d 従業員数を増やして(→○変えずに) 、総作業時間を変えずに(→○減らして) 、1 人当たりの作業時間を短くする。 |
| a | b | c | d | |
|---|---|---|---|---|
| ○ア | ○ | ○ | × | × |
| ×イ | ○ | × | × | ○ |
| ×ウ | × | ○ | ○ | × |
| ×エ | × | ○ | × | ○ |
| ×オ | × | × | ○ | ○ |
後回しにして残り時間で解く正答率CD6マーク
これも設問指示に従うアドリブ問題で、距離は「2m刻み」で機械的に確定し、あとはフロムツウ表の数字を掛ける。cは全再計算せず「距離が変わるセルの差分だけ」を出すのが最短ルート。
| 図1 のように、設備が入庫口から出庫口に直線でレイアウトされている機械加工職場における、ものの流れの現状を明らかにするために、1 週間当たりの運搬回数を調査した。その結果を図2 のフロムツウチャートに示す。 |
![]() |
| この結果から読み取れる記述の正誤の組み合わせとして、最も適切なものを下記の解答群から選べ。 |
| ○a 現状のΣDI値(距離と運搬回数の積の総合計)は284である。 ×b ものの流れが逆行している運搬回数の合計は54である。 ○c 旋盤とフライス盤の場所を入れ替えることによってΣDI値(距離と運搬回数の積の総合計)は12減少する。 |
| a | b | c | |
|---|---|---|---|
| ×ア | 正 | 正 | 誤 |
| ○イ | 正 | 誤 | 正 |
| ×ウ | 正 | 誤 | 誤 |
| ×エ | 誤 | 正 | 正 |
| ×オ | 誤 | 誤 | 正 |
当問は一見見慣れたフロムトゥーチャートだが、距離を考慮するので筆算で解くには煩雑。これで3点ならムキにならず、他設問の見直しに充てるべき。

(設問1)事前知識不要で、設問指示に従って解くアドリブ問題。保管開始時刻の早い順に「空いている最寄り棚」を割り当てて計算すると総移動距離20・使用棚数3棚となり○アが正解。
| 次の文章を読んで、下記の設問に答えよ。なお、解答に際しては次ページの空表を適宜利用せよ。 |
| フリーロケーション管理が行われている倉庫で、保管時間が表1 のように予定されている商品(例えば、商品1 は8 時00分から11時00分までの間、倉庫に保管される)の保管棚を、以下の条件のもとで決定することを考える。 |
![]() |
| <条件> 1 商品の入出庫は同一の通用口(以下、「入出庫口」という)を利用する。 2 倉庫には商品の保管棚が4 カ所あり、入出庫口と各保管棚との距離は表2 のとおりである。 |
![]() |
| 3 1 つの棚には同時に2 つ以上の商品を保管することはできない。 4 商品の保管棚を決定する際には、指定するルールに従った上で、入出庫口にできるだけ近い利用可能な保管棚を利用する。 |
![]() |
| (設問1 ) 商品の保管棚を決定するルールを「保管開始時刻の早い商品から順に保管棚を決定する」にしたときの、商品の総移動距離(5つの商品を入出庫するための総移動距離)と利用する保管棚の数の組み合わせとして、最も適切なものはどれか。 |
| 商品の総移動距離 | 利用する補完棚の数 | |
|---|---|---|
| ○ア | 20 | 3 |
| ×イ | 20 | 4 |
| ×ウ | 26 | 3 |
| ×エ | 26 | 4 |
| ×オ | 28 | 4 |
とりあえず来た順に近い棚から置いていく。すると上手いこと以下のようにピタリと並び、使う棚が3つで済みます。
※下のAI図解は30分でなく60分単位で描かれるが、結果は同じ。

「保管時間の短い商品を優先」に変えると、短時間品が近い棚を先取りする。結果として長時間品が遠い棚へ押し出され、かつ同時使用棚数も増える「改悪」になる意地悪問題。
| (設問2 ) 商品の保管棚を決定するルールを、設問1 でのルールから「保管時間の短い商品から順に保管棚を決定する」に変更したときの、商品の総移動距離と利用する保管棚の数の変化の組み合わせとして、最も適切なものはどれか。 |
| 商品の総移動距離 | 利用する棚の数 | |
|---|---|---|
| ×ア | 減る | 減る |
| ×イ | 減る | 変化なし |
| ×ウ | 変化なし | 減る |
| ×エ | 増える | 変化なし |
| ○オ | 増える | 増える |
(設問1)→(設問2)はきっと改善する方向だろう。。時間切れでエイヤとア~エが目に入ると正解○オを選びにくい、意地悪問題です。

2工程フローショップでは Johnson法則 でメイクスパンが最小になる投入順が決まる。「最小値を第1工程 の前に並べる(昇順)」「第2工程 の後ろに並べる(降順)」で考える。
| 2 台の機械を用いて、第1 工程、第2 工程の順で作業するフローショップにおいて、各ジョブの作業時間が下表に与えられている。メイクスパンが最小になるように各ジョブがフローショップに投入された場合、メイクスパンにおける2 台の機械の非稼働時間の合計として、最も適切なものを下記の解答群から選べ。 |
![]() |
| ×ア 3 ×イ 4 ウ 5 ○エ 6 ×オ 7 |
フローショップは組合せの試行錯誤で求めるが、「第1工程の最小を前」「第2工程の最小を後」にすると、最初がaで最後がbになる。残るcdの組み合わせは2つしかなく、計算パターンが劇的に減ります。

ライリーモデルは「吸引力の比=人口の比÷距離²の比」で表す。距離は2乗で効いてくる点が核心。与えられた吸引力比・人口比から逆算して距離比を求めます。
| A市とB市の人口比がA:B=3 :8 である場合、それぞれの市がその中間にあるX町からどの程度の購買力を吸引できるか、ライリー・モデルを用いて計算した。計算した結果、A市とB市の吸引力の比がA:B=3 :2 のとき、X町からA市までの距離XAとX町からB市までの距離XBの比として、最も適切なものはどれか。 |
| XA: | XB | |
|---|---|---|
| ×ア | 1: | 4 |
| ○イ | 1: | 2 |
| ×ウ | 1: | 1 |
| ×エ | 2: | 1 |
| ×オ | 4: | 1 |
できれば当てたい商圏分析(ライリー・コンバース)は出題工夫を重ねて数値が難化するので、思い切って公式利用を。人口比が3/8なのに吸引力(=人口密度)が3/2に高まる理由を「距離の近さ」と考えれば後は数値をハメて方程式です。
逆に、地方の若者が休日や就職で東京・大阪に行きたがる理由が、その吸引力(魅力=人口密度=人口÷商圏面積)がデカいため。そう説明できればあなたも診断士。

特別注文の受否では、注文の有無にかかわらず発生する固定費は 埋没原価(サンクコスト)として無視する。 利益を減らさない最低単価は、受注で追加発生する 変動費のみで決まり、つまり限界利益がプラスな受注する。
| ある工場では、金属部品を切削加工して、A社に受注単価900円で納入している。月に最大1,000個を切削加工できる。切削加工の際に発生する費用は次のとおりである。 |
| ・1 個当たりの材料費は200円である。 ・電力代など1 個当たりの変動加工費は100円である。 ・月当たりの直接労務費は月給20万円である。 ・使用する設備など、月当たりの減価償却費は20万円である。 |
| 今月、A社からの注文量は800個で、そこにB社から同じ金属部品100個のスポット注文がきた。工場の切削加工の能力には余裕がある。このスポット注文を受ける場合、工場の今月の利益を減らさないための部品の受注単価の最小値として、最も適切なものはどれか(単位:円)。ただし、費用については上に挙げたもののみを考慮する。 |
| ×ア 200 ○イ 300 ×ウ 500 ×エ 700 ×オ 900 |
当問は近い将来の「事例Ⅳ」で必ず出題される。1次「財務」のうちに意思決定力を鍛えるのが上位5%で、よく理解せず過去問の答をひたすら暗記するのが隣のふぞです。

今日のまとめ
AI解説はやや初心者向けに、丁寧・長めに説明したがる癖があるのでプロンプトを「最小字数で・わかりやすいビジュアルで」に変え、知りたい所をズバリで説明させる。するとイマの時流に乗って時短が進み、1問ならより短時間、80分ならより大量情報の同時処理を可能にします。











